氣體滅火知識
消防維保
主機維修
聯系我們
- 聯系人:郭經理
- 傳真:010-69552656
- 電話:400-0346-119
- 電話:010-57113119
- 郵箱:506665119@qq.com
- 地址:北京通州區新華北路117號
金鼎JDJQ-1防爆緊急啟動/停動按鈕結構特征:
來源:消防維保 時間:2018-10-15 11:02:59
1、防爆緊急啟動/停動按鈕外形實體圖如圖1所示:
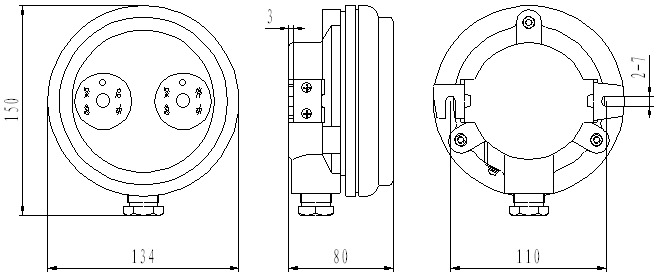
2、JDJQ-1防爆緊急啟動/停動按鈕外形結構示意圖


來源:消防維保 時間:2018-10-15 11:02:59
1、防爆緊急啟動/停動按鈕外形實體圖如圖1所示:
2、JDJQ-1防爆緊急啟動/停動按鈕外形結構示意圖
